曾经汇源果汁的辉煌,如今追款的迷茫!|法律顾问
2021-07-07

关注并将「同道摩金」设为🌟 星标
每晚8-9点准时推送哟~

一代国民饮料品牌没落了!
近日,据天眼查App显示,北京汇源饮料食品集团有限公司新增一条被执行人信息,执行标的高达15.9亿元!曾经,汇源果汁是大家逢年过节最美好的享受,“有汇源才叫过年”这句广告语,伴随了许多80、90后的成长历程。

01
其实,这不是汇源第一次被强制执行。早在2021年1月,汇源集团创始人朱新礼就因未按时履行法律义务被法院强制执行,涉及执行标的为1.086亿,且多次被法院列为失信被执行人。
目前,朱新礼已被法院限制出境,北京汇源也被法院列为失信被执行企业。
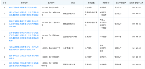
据本次新增的执行信息显示,执行标的超15.9亿元,执行法院为北京市第四中级人民法院。被执行人除了北京汇源外,还包括钟祥汇源饮料食品有限公司、北京汇源集团钟祥有限公司、北京汇源食品饮料有限公司、北京汇源饮料食品集团有限公司 、宿迁汇源食品饮料有限公司、河北汇源食品饮料有限公司,以及汇源董事长朱新礼和其女儿朱圣琴。

除此之外,北京汇源饮料食品集团有限公司近期被各类案件缠身。案由多为票据追索权纠纷、金融借款合同纠纷、企业借贷纠纷等。被执行总金额高达23亿元。


//
曾几何时,家喻户晓的汇源果汁也拥有过高光时刻。在经历了一系列资本运作后,于2007年赴港上市,筹集资金24亿港元,创下当年IPO最大金额。
可是“出道即巅峰”,汇源随后的发展,都不尽如人意。
• 2009年可口可乐高价收购汇源失败,成为汇源业绩的转折点。汇源果汁股价暴跌,3天累计下跌近58%,市值腰斩,市场情绪一片哗然。
• 2011年起,汇源连续六年亏损,分别为-3.18亿元、-4.79亿元、-5.75亿元、-5.53亿元和-2.08亿元。截至2017年底,背负巨债达114亿元,资产负债率高达51.8%。
//
• 2018年4月,因未经董事会批准且未签订协议对外披露,汇源果汁向北京汇源贷款42.75亿,违反港交所规则,导致停牌。
• 2019年5月29日,因违反财产报告制度,朱新礼再度被法院列入失信被执行人名单,成为了老赖。2019年12月11日,朱新礼作为有权代理人的中国德源资本(香港)有限公司被法院查封,41亿元资产遭冻结,这使汇源果汁集团身陷囹圄。
• 2021年1月18日,停牌近3年时间的汇源果汁正式从港交所摘牌。港交所宣布,中国汇源果汁集团有限公司的上市地位将根据《上市规则》第6.01A条予以取消。一代“国民品牌”就此陨落。

02
法律顾问精细化指引
越来越多的商业精英和企业,面临着呆账、烂账难题。而资金是企业的血液,应收账款就是企业的中枢神经。一方面没收回钱,另一方面还加速了企业的现金流出,雪上加霜。
实务中,最常见发生的故事,就是当商业精英或企业以法律诉讼维权时,发现对方已无财产,赢了诉讼,依旧没收回钱。
追债追到强制执行,再到执行终结;一切成空。
//
因此每次商业合作,都需要精细化管理,从评估合作方开始,到商业合作模式,到签约,到履约跟踪,到及时终止止损等等。
不仅如此,更多企业直接让法律顾问提前介入应收账款清收工作,与销售、商务、财务紧密协作,精细化管理;从签约首单款项介入,到每笔进度款跟进,到尾款清理等。
//
随着司法实践的“执行力度”不断强化,从强制走向强破,以及个人破产的立法;开始有更多的商业精英和企业,委托专业律所采取非诉和诉讼法律手段,精细化作业方式催债;
而且更重要的是,将应收账款管理工作前移,甚至从洽谈签约开始,从而真正在法律基础上保障账款安全,催债效益得到提升,而且还降低了自身成本。

不论是商业合同的精细化管理,还是应收账款清收的精细化作业,一切皆是尽最大努力提升企业经营的效益。

扫码联系摩金
0756-3366128