企业老板输掉官司后枪杀对方律师:当事人与律师的关系该如何定义?
2023-08-25


新竹路位于武汉市洪山区,街道两旁开满了密集的店铺,平日里车辆穿行,人来人往。 2021年9月13日,一声枪响将这份平静彻底打破。 一男子手拿着枪,闯进一家法律维权服务中心,径直走到薛律师办公桌前开枪将其击倒,后劫持了路边一辆白色宝马逃离了现场。 薛律师随即被送往医院,但最终不幸离世。 图|微博
今年4月,一审法院宣布该起事件的判决结果:雷某因犯故意杀人罪、抢劫罪、非法买卖、运输枪支罪被判处死刑,另有4人涉非法买卖枪支获刑。 雷某不服判决选择上诉,这起令人震惊的案件重回大众视野,引发了大家的关注和愤慨,也引起了法律界和社会各界的深思。 犯罪嫌疑人叫雷某,47岁,曾经是多家企业的老板,同时也是一家建筑工程公司的法定代表人。他使用的作案工具是一把长约50厘米的枪,作案完后,他把枪藏在网球拍的套子里离开的。 图|今日头条

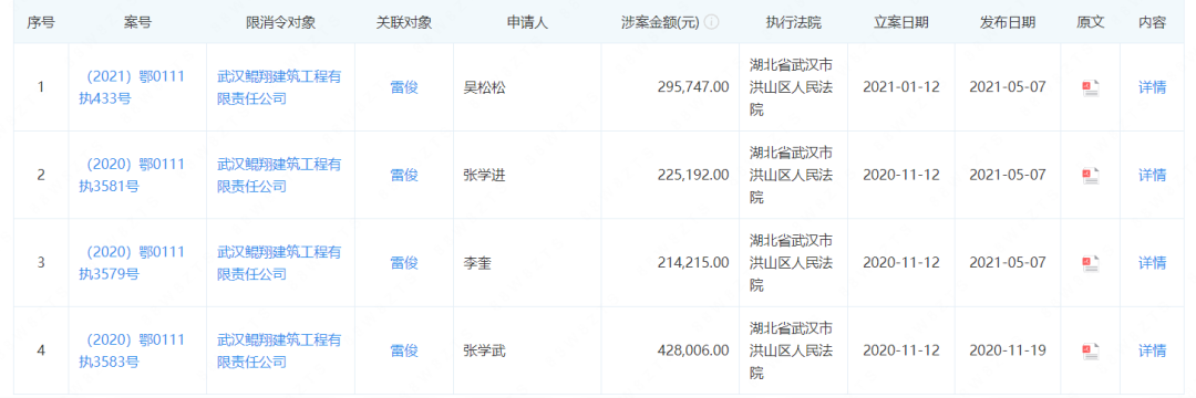
从建筑公司老板变成杀人犯,雷某与律师之间到底发生了什么? 根据报道,薛律师与雷某的交集源自其代理的四起建设工程分包合同纠纷案。 2021年 作为建筑公司老板的雷某,曾经雇佣过四名农民工,在武汉市洪山区建造了一个小区。但是项目完成后,雷某却拒绝支付农民工的工资,并且辱骂和威胁他们。 四位农民工无奈之下来到了法律援助中心寻求帮助,薛律师接受了他们的委托,并且愿意无偿帮助他们。 2020年7月 4个人分4起建设工程分包合同纠纷,将雷某及其公司告上法庭。 经过长时间的诉讼,最终薛律师成功帮助他们打赢了官司,并且法院查封、冻结了雷某所在公司、雷某名下银行存款40万余元、21万余元、21万余元及42万余元。
图|企查查
之后,雷某曾在2020年至2021年先后多次被限制高消费,原因是未按执行通知书指定的期间履行生效法律文书确定的给付义务,申请执行人就是农民工四人。 公司与自己的财产被冻结,雷某因此陷入了困境。据他的亲人说,最困难的时候,他连30块吃饭钱都要问亲戚朋友借。但困难并没有使他重新站起来,官司失败后,他不仅欠了大量外债,还沾染上了毒品和吸毒。 他认为自己一切的不幸都是来自于薛律师,于是他决定报复薛律师,杀死他。 被警察缉拿归案后,雷某对自己的罪行供认不讳,并且毫无悔意。他认为自己没有错,错的是薛律师,错的是那些农民工,错的是这个社会。他对法律和道德毫不在乎,只在乎自己的利益。 目无法纪,肆意妄为,最终酿成了这不可挽回的后果。雷某作为被申请人,如果对法院的判决结果有异议,大可以依法提起上述,走正当的法律途径来维护自身权益。而不是采取杀人这种暴力且违法的行动方式。
律师是法治社会的重要组成部分,他们是公民维权的代言人,也是司法公正的参与者。他们在为当事人提供法律服务的过程中,不仅要遵守法律规定,也承担着职业风险和社会责任。 打官司也好,进行法律咨询也罢,现如今,很多当事人与律师之间都没有找到准确的定位,更不要说关系的界限了。

只抱着“做生意”的心态,是很容易出现当事人抱怨律师或律师抱怨当事人的情形,矛盾也就爆发了。其实,当事人和律师都不只是为了各自的利益,双方甚至可以是“战友”,因为战友是不会坑自己人的。 紧密协作、密切配合,共同尽最大的努力做好战斗,才最有可能取得双赢的局面。
扫码联系摩金
0756-3366128